ZZC自力式差壓調節閥是一種無需外來能源的節能型產品,利用工藝管道中介質的壓力變化與信號進行比較,使被調節介質的力與執行機構的輸出力平衡,以達到穩定壓力、差壓值。 ZZCP-1型差壓閥,采用平衡型單座閥,壓力穩定、精度高、密封性好,用于控制微小差壓。ZZCN-10型差壓閥采用雙座閥,流量系數大,將閥芯正、倒裝,可組成二個不同品種的調節閥產品。該產品適用于各種工業爐燃燒系統控制兩種燃料氣體混合比流量或用于氫冷發電機組密封油系統中,同時,還可用于各種工業氣體的減壓、穩壓或泄壓的自動控制。
ZZVP型自力式微壓調節閥,采用平衡單座閥,在運行中可任意對設定值進行調整等特點。因而適用于各種工業爐燃燒統燃料氣體、石油在制品或油庫貯罐保護氣體與熱處理保護氣體的微壓自動調節等場合。
![]() |
![]() |
| 自力式微壓調節閥" | 自力式微壓調節閥結構圖 |
![]() |
![]() |
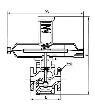
| 自力式差壓調節閥 | 自力式差壓調節閥結構圖 |
| 材料代號 | C(WCB) | P(304) | R(316) | |
|---|---|---|---|---|
| 主要 零件 |
閥體、閥蓋 | WCB(ZG230-450) | ZG1Cr18Ni9Ti(304) | ZG1Cr18Ni12Mo2Ti(316) |
| 閥芯、閥座 | 1Cr18Ni9Ti(304) | 1Cr18Ni9Ti(304) | 1Cr18Ni12Mo2Ti(316) | |
| 閥桿 | 2Cr13 | 1Cr18Ni9Ti | 1Cr18Ni12Mo2Ti | |
| 填料 | V型聚四氟乙烯(F4)、柔性石墨、 | |||
| 墊片 | 增強聚四氟乙烯(F4) 、不銹鋼墊片、金屬石墨纏繞墊片 | |||
| 上下膜蓋 | A3鋼板沖壓 | |||
| 波紋膜片 | 丁晴橡膠、耐油橡膠、氟橡膠 | |||
| 彈簧 | 60Si2Mn | |||
| 波紋管 | 1Cr18Ni9Ti | |||
| 公稱通徑DN(mm) | 20 | 25 | 32 | 40 | 50 | 65 | 80 | 100 | |
|---|---|---|---|---|---|---|---|---|---|
| 額定流量(KV) | 單座(P) | 8 | 11 | 20 | 32 | 50 | 80 | 100 | 160 |
| 雙座(N) | ─ | ─ | ─ | ─ | 50 | 83 | ─ | ─ | |
| 額定行程(mm) | 6 | 8 | 10 | 15 | 20 | ||||
| 調節精度(%) | ±10 | ||||||||
| 公稱壓力PN(MPa) | ZZC | 0.10 1.0 | |||||||
| ZZV | 0.10 | ||||||||
| 介質溫度(℃) | ≤80 | ||||||||
| 允許泄漏量(L/h) | 單座(P) | 10-4×閥額定容量 | |||||||
| 雙座(N) | 103×閥額定容量 | ||||||||
| 壓力調節范圍(Kpa) | 0.5~5.5、5~10、9~14、13~19、18~24、22~28、26~33、31~38、36~44、41~51、49~58、56~66、64~78、76~90、76~90 | ||||||||

| 公稱通徑DN | 20 | 25 | 32 | 40 | 50 | 65 | 80 | 100 | 150 | |
|---|---|---|---|---|---|---|---|---|---|---|
| φA | 308 | 394 | 308 | 394 | 308 | 394 | 394 | 394 | 394 | |
| ZZV | H | 378 | 460 | 370 | 445 | 460 | 490 | 490 | 510 | 720- |
| L | 150 | 160 | 180 | 200 | 230 | 290 | 310 | 350 | 480 | |
| ZZC | H | 378 | 465 | 365 | 445 | 455 | 490 | 490 | 510 | ─ |
| L | 150 | 160 | 180 | 200 | 230 222 |
290 220 |
310 | 350 | ─ | |
| 重量kg | 12 | 13 | 15 | 17 | 20 | 28 | 38 | 45 | 56 | |
| 信號接頭螺紋 | M16×1.5 | |||||||||
溫馨提示:
本文中所有文字、數據、圖片均只適用于參考。需要查看更多的ZZC自力式差壓調節閥性能參數、結構尺寸參數、價格等詳情,或要求印刷樣本,請聯系我們。