高溫高壓電站截止閥可以根據不同的壓力,不同的溫度,采用特殊的結構和相應的密封,試壓采用工作壓力的1.5倍試壓,確保閥門在工作壓力的狀態下不會發生泄漏,同時保證在相應的溫度下,密封不會發生變形,不會發生密封不嚴的現像。焊接式電站截止閥,是電力,電氣,機電設備工程,電控設備工程中應用最多的閥門之一,由于其安裝方便,制造合理,經濟簡單,所以大量使用在電力工程等管道中,本公司生產的J61H/Y型,外表美觀,密封性能好,耐壓高,拆裝維護方便,深得廣大新老客戶的好評。

| 產品型號 | 公稱壓力PN(MPa) | 試驗壓力(MPa) | 工作壓力(MPa) | 工作溫度 | 適用介質 | |||
|---|---|---|---|---|---|---|---|---|
| 殼體強工 | 密封 | P45 | P55 | P57 | ||||
| J61H/Y-100 | 10 | 15 | 11 | ≤450 | 水、蒸汽、油品 | |||
| J61H/Y-200 | 20 | 30 | 22 | |||||
| J61H/Y-250 | 25 | 38 | 28 | |||||
| J61H/Y-320 | 32 | 48 | 36 | |||||
| J61Y-P54/100V | 30 | 22 | 10 | ≤540 | 蒸汽 | |||
| J61Y-P54/140V | 38 | 28 | 14 | |||||
| J61Y-P54/170V | 48 | 36 | 17 | |||||
| J61Y-P55/100V | 38 | 28 | 10 | ≤555 | ||||
| J61Y-P55/140V | 48 | 36 | 14 | |||||
| J61Y-P55/170V | 53 | 39 | 17 | |||||
| J61Y-P57/100V | 48 | 36 | 10 | ≤570 | ||||
| J61Y-P57/140V | 55 | 40 | 14 | |||||
| J61Y-P57/170V | 60 | 44 | 17 | |||||
| 零件名稱 | 閥門 | 閥蓋 | 閥桿 | 閥瓣 | 密封面 | 填料 | 閥桿螺母 | 手輪 | 緊固件 |
|---|---|---|---|---|---|---|---|---|---|
| J61H型 | 25 WCB | 25 40Cr | 鉻不銹鋼 鉻鉬鋁鋼氨化 | 鉻不銹鋼 | 鉻不銹鋼 | 柔性石墨 | 鋁青銅 | 可鍛鑄鐵 | 優質碳鋼 鉻鉬鋼 |
| J61Y型 | 25 WCB | 25 40Cr | 鉻不銹鋼 鉻鉬鋁鋼氨化 | 25 | 硬質合金 | 優質碳鋼 鉻鉬鋼 | |||
| J61Y-P54型 | ZG20CrMoV 12Cr1Mo1V | 12Cr1Mo1V | 20Cr1Mo1VA 25Cr2Mo1VA | 12Cr1Mo1V | 硬質合金 | 鉻鉬鋼 | |||
| J61Y-P55型 | ZG15CrMoV 12Cr1Mo1V | 12Cr1Mo1V | 20Cr1Mo1VA 25Cr2Mo1VA | 12Cr1Mo1V | 硬質合金 | 鉻鉬鋼 | |||
| J61Y-P57型 | ZG15CrMoV 12Cr1Mo1V | 12Cr1Mo1V | 20Cr1Mo1VA 25Cr2Mo1VA | 12Cr1Mo1V | 硬質合金 | 鉻鉬鋼 |
54 54 54 H61Y-P55/100V、P55/140V、P56/170V 57 57 57

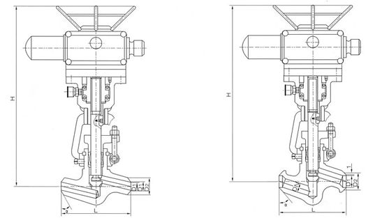
| 主要尺寸DN(mm) | 主要尺寸及連接尺寸(mm) | 重量(kg) | ||||||
|---|---|---|---|---|---|---|---|---|
| L | D1 | D2 | D3 | a | H | D0 | ||
| 61H/Y100、200、250、320 J61Y-P54/100V、P54140V、P54170V | ||||||||
| 10 | 120 | 12 | 25 | - | 40° | 185 | 140 | 2.8 |
| 15 | 170 | 17 | 36 | - | 40° | 247 | 200 | 7.5 |
| 20 | 170 | 22 | 42 | - | 40° | 248 | 200 | 9 |
| 25 | 170 | 26 | 42 | - | 40° | 248 | 240 | 9.5 |
| 32 | 170 | 31 | 44 | - | 40° | 248.5 | 280 | 15 |
| 50(1) | 250 | 50 | 82 | - | 32° | 450 | 320 | 60 |
| 50(2) | 320 | 50 | 82 | - | 32° | 450 | 320 | 64 |
| 65 | 430 | 69 | 100 | 110 | 32° | 669 | 400 | 74 |
| 80 | 470 | 84 | 108 | 130 | 32° | 669 | 450 | 112.5 |
| 100 | 560 | 107 | 144 | 165 | 32 | 755 | 500 | 178.5 |
| 注:DN50為兩種結構長度 | ||||||||
| J61Y-P55/100V、P55/140V、P55/170V J61Y-P57/100V、P57/140V、P57/170V | ||||||||
| 10 | 120 | 12 | 28 | - | 40° | 189 | 140 | 3 |
| 15 | 170 | 17 | 40 | - | 40° | 250 | 200 | 9 |
| 20 | 170 | 22 | 46 | - | 40° | 252 | 200 | 11 |
| 25 | 170 | 26 | 46 | - | 40° | 254 | 240 | 13 |
| 32 | 170 | 31 | 49 | - | 40° | 254 | 280 | 17 |
| 50(1) | 250 | 50 | 90 | - | 32° | 453 | 320 | 68 |
| 50(2) | 320 | 50 | 90 | - | 32° | 455 | 320 | 72 |
| 65 | 430 | 69 | 104 | 115 | 32° | 630 | 400 | 83 |
| 80 | 470 | 84 | 110 | 140 | 32° | 672 | 450 | 118 |
| 100 | 560 | 107 | 148 | 170 | 32° | 761 | 500 | 185 |
J961Y-P54/100V、P54/140V、P54/170V
J961Y-P54/100V、P54/140V、P54/170V
J961Y-P54/100V、P54/140V、P54/170V

| 產品型號 | 公稱壓力 PN/MPa | 試驗壓力/MPa | 工作壓力/MPa | 工作溫度℃ | 適用介質 | |||
|---|---|---|---|---|---|---|---|---|
| J961H Y-100 | 10 | 15 | 11 | / | / | / | ≤450 | 水、蒸汽、油品 |
| J961H Y-200 | 20 | 30 | 22 | / | / | / | ||
| J961H Y-250 | 25 | 38 | 28 | / | / | / | ||
| J961H Y-320 | 32 | 48 | 36 | / | / | / | ||
| J961Y-P54/100V | / | 30 | 22 | 10 | / | / | ≤540 | 蒸汽 |
| J961Y-P54/140V | / | 38 | 28 | 14 | / | / | ||
| J961Y-P54/170V | / | 48 | 36 | 17 | / | / | ||
| J961Y-P55/100V | / | 38 | 28 | / | 10 | / | ≤555 | |
| J961Y-P55/140V | / | 48 | 36 | / | 14 | / | ||
| J961Y-P55/170V | / | 53 | 39 | / | 17 | / | ||
| J961Y-P57/100V | / | 48 | 36 | / | / | 10 | ≤570 | |
| J961Y-P57/140V | / | 55 | 40 | / | / | 14 | ||
| J961Y-P57/170V | / | 60 | 44 | / | / | 17 | ||